(See Video) ProTech 7107 10” Miter Saw with Rolling Tool Chest (See
(See Video) ProTech 7107 10” Miter Saw with Rolling Tool Chest (See
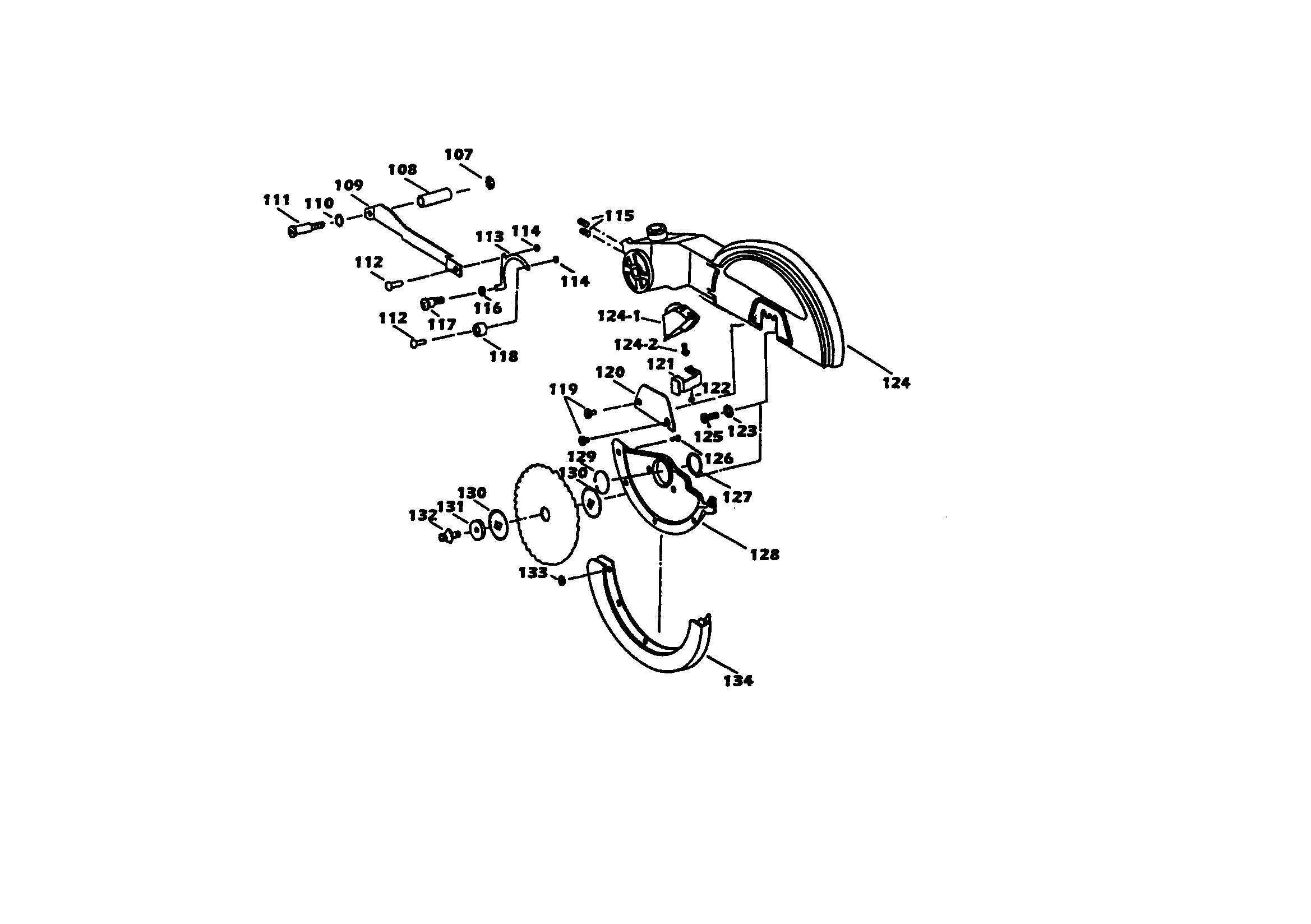
Pro Tech Chop Saw. Pro tech compound miter saw parts identification Find many great new & used options and get the best deals for Pro Tech Contractor Series CS72121 12" Miter Saw at the best online prices at eBay! Free shipping for many products! See the seller's listing for full details and description of any imperfections.
Pro Tech Miter Saw BigIron Auctions from www.bigiron.com
Precision parts in Pro Tech miter saws help you cut work pieces to perfection Choose the right 10-inch diameter blade for the material and the type of cutting you plan to do, Use this miter saw to cut only wood, wood-like products or soft metals like aluminum Other materials may shatter, grab at the blade, or create other dangers.
Pro Tech Miter Saw BigIron Auctions
Pro Tech is a world leader in manufacturing dependable miter saws Pro Tech is a world leader in manufacturing dependable miter saws Valuation Report for Used CS7212 Miter Saw by Pro-Tech Power, Inc
ProTech 7207 10" Compound Masonry Miter Saw 120V 12A 4800RPM. Choose the right 10-inch diameter blade for the material and the type of cutting you plan to do, Use this miter saw to cut only wood, wood-like products or soft metals like aluminum Other materials may shatter, grab at the blade, or create other dangers. This item may be a floor model or store return that has been used
(See Video) ProTech 7107 10” Miter Saw with Rolling Tool Chest (See. Get the best deals for Pro-Tech 10 Saw at eBay.com Have any community members had experience with the Pro-Tech Model 7207 compound miter saw (chop saw?) I'm moving cross country from Palo Alto, CA to Charlottesville, VA to a retirement community.